招标公告
沈阳体育学院对冰上运动综合馆东部道路庭院灯采购及安装项目 (项目编号:SYTY20240608)进行招标,欢迎符合资格条件的投标人参加本次招标活动。
一、项目内容及要求
(一)工程内容
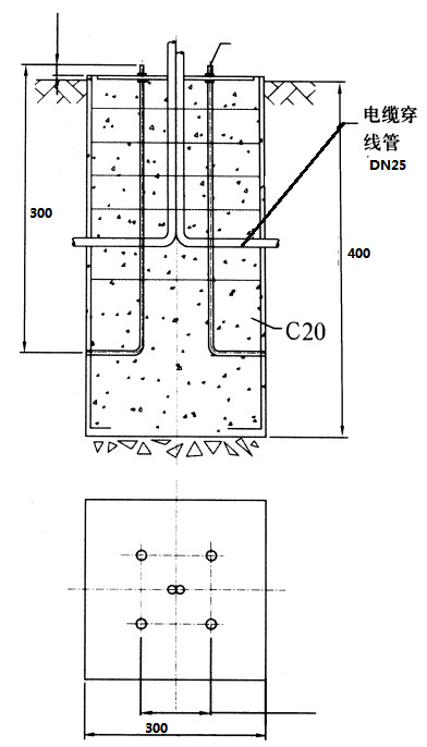
1、本项目为采购及安装天使双头LED庭院灯10套(灯杆含基础及LED灯具),以及配电电缆的敷设及安装。新庭院灯基础详见图纸。每个庭院灯安装5A漏电保护开关。设有路灯电源柜1台,采用混凝土基础,进线电缆引自滑冰馆东北角箱变,电缆型号为YJV-4*25+1*16,出线采用YJV-54*16电缆,线缆采用DN50高压尼龙塑料管保护,庭院灯采用BV2.5护套线缆与路灯主电缆相连接。具体工程量以现场实际为准,投标报价按标书清单样式填写。
2、庭院灯技术参数要求
庭院灯为双头天使LED 灯,投标文件中必须提供主要材料表,并注明材料规格、型号及合格证,具体技术参数要求如下:
(1)芯片:60W LED灯灯具(双灯头), 芯片要求采用进口国际一线品牌的:CREE、LUMILEDS、PHILIPS三者任选其一。光源额定功率小于2W大于1W,光源SMD3030。
(2)电源:电源品牌必须为飞利浦、茂硕、英飞特三大品牌之一,并提供厂家授权书。电源的工作电压AC220V-240V,满负载工作效率大于0.9,功率因素大于0.95。所用电源通过CCC国家认证。
(3)整灯要求
3.1、灯具的整灯光效大于100lm/W,提供国家级灯具检测中心的检测报告。
3.2、结构散热合理
3.3、防护等级达到IP65以上
3.4、灯具厂家需要提供CQC认证
3.5、灯杆高度3.5米,流线型设计,灯体壁厚3.2mm材质精铸铝一次成形。
3.6、色温5700K,显色指数80Ra
3.7、产品尺寸702×680
(4)灯具样式及基础图如下:


(二)质量及售后要求
1.正常使用情况下要求质保12个月(自竣工验收合格之日开始计算)。
2.在项目实施过程中及售后服务期内,投标方需承诺指定专人负责与用户保持长期的联系与服务,投标文件要有相应承诺及人员配备。
3.在售后服务期(质保期)内若出现负责人变更的情况,原负责人承担连带责任。
(三)其他说明事项
1.施工工期为20天(自签订合同之日起计算,含货期)。
2.投标方必须保证施工现场安全、环境卫生清洁,清理出的施工垃圾必须及时运出校园之外,由投标方负责运送处理。
3.施工过程中发生一切安全事故由中标方承担,中标方不得对招标方或第三方财物造成损失,否则按原价赔偿;不得影响其他施工项目的顺利进行,否则按违约处理。
4.该项目投标文件中的项目负责人即为现场负责人,未经得招标人许可,不得更换现场项目负责人。否则招标人有权按照中标价款的10%进行扣款。
5.施工用电、用水的接点由招标方提供,具体用电、用水及管线由投标方自行解决,用水、用电费用由招标方承担。
6.中标价即合同价,中标方不得以任何理由要求提高合同价款。报价中已包含材料、人工、税金、运输、管理、措施、配套等一切费用。
二、质保期: 1年,保修期内如果中标人不能按时或保证质量完成维修,出现事故或安全隐患给采购人或第三方造成损失需要承担全部赔偿责任。
三、合格投标人的资格条件
1、符合《中华人民共和国政府采购法》第二十二条规定应当具备的条件;
2、合格供应商还要满足的其它资格条件:
(1)供应商须具有独立法人资格。
(2)供应商须具有自己的施工队伍,至少有一名电气工程师和至少有三个具有建筑施工特种作业操作资格证(建筑电工)。
(3)供应商须具有类似照明项目业绩,提供相关证明。
3、本项目不接受联合体投标。
四、拦标价:55,000.00元
五、付款方式
工程竣工验收合格后,留取工程总合同价的3%工程款为质保金;学院一次性支付合同总价的97%工程款;余款1年期满,无质量问题支付质保金(无息)。
六、招标文件发放时间及投标书要求
(一)招标文件即日起自行下载
(二)投标书要求
1. 投标文件含纸质正本份数1份;纸质副本份数1份;电子文档 1份(投标文件正本的连续性PDF扫描件存储到U盘)加盖密封章后于7月2日10:00时前送至国有资产管理中心(招投标办公室)。
2.标书有下列情况之一者无效:
①标函未密封;
②标函字迹模糊,辨认不清;
③标函未盖投标单位公章和法人章;
④未按指定时间投报标函。
七、采购单位地址和联系方式
采购单位:沈阳体育学院
地 址:沈阳市苏家屯区金钱松东路36号
项目答疑:李老师 联系电话:8916 6671
联 系 人:迟老师 联系电话:8916 6670
国有资产管理中心(招投标办公室)
2024年6月27日